电动汽车标准
前 言
截止目前,我国已经成为世界上汽车大国,年产量已经超过两千万辆,稳居世界之首,但同时我们也要看到,汽车产业的发展带来的能源安全、环境安全的挑战依然存在,电动汽车正是以其环保节能的优势,被公认是全球汽车未来的发展方向。可以说谁能把握住电动汽车的发展机遇,谁就占领了未来汽车产业竞争的制高点。全球汽车业乃至社会各界,都在为电动汽车的发展推广普及而努力。发展电动汽车也是我国从汽车大国发展成为汽车强国的必由之路。
2015-2016年度也是中国电动汽车标准化工作成果最为丰硕的一年。我们在2015年开展的标准技术路线图的制定基础上进一步完善,细化了我国现阶段电动汽车标准的现状、需求、以及制定的时间节点安排;同时,本年度中国电动汽车标准又上了一个新的台阶。
1、2015-2016年度标准化工作进展
2015年6月至2016年7月,全国汽车标准化技术委员会电动车辆分委会完成了一系列标准的制修订的工作,发布新标准30项之多!可以说,这一年来是电动汽车标准化工作的一个“丰收年”,成果丰硕,极大地完善了电动汽车标准体系,促进了电动汽车产业发展。这一年来,我们在动力电池、基础设施等领域加大标准的制定力度,出台了多项行业亟需的标准,为电动汽车近年来的产业化步伐铺好道路。
(1)可充电储能系统标准化工作
可充电储能系统(REESS)性能与安全的提升是新能源汽车推广应用的基石,而相应标准的制定与完善是动力蓄电池系统发展的重要依据和有力推手,为此国家标准化管理委员会、科学技术部、工业和信息化部等相关部委高度重视可充电储能系统标准化。在部委的高度关注和大力支持下,2015年下半年至2016年上半年,可充电储能系统标准化工作取得了重要的阶段性进展。一年间共发布相关标准10项(见表1),其中国家标准7项,汽车行业标准3项,8项为新制定,2项为修订。主要涉及了锂离子蓄电池包和系统的测试规程和安全性要求,动力蓄电池箱通用要求、循环寿命要求、电性能要求、安全要求、试验方法,超级电容器;规范了与动力蓄电池和车用超级电容器相关的术语和定义、符号、要求、试验方法、检验规则、标志、包装、运输、贮存,以及动力蓄电池包和系统的电性能、安全性的测试方法及其循环寿命要求、试验方法、检验规则,还规定了动力蓄电池箱的通用要求。进一步修订了以前相应版本标准中安全性、通用要求,对以前版本不适合的地方进行了适当的增删,内容更加完善与完整,在保证了企业发展竞争需要的同时,还更加严格的保证了安全性要求,弥补了国家、行业相关标准的缺失。
至此,动力电池的标准体系已经趋于完整,下一步,重点放在回收利用、互换性标准。

(2)基础通用设施标准化工作
基础通用设施是电动汽车发展的重要基础,自2013年相应标准报批以来,各相关部门、企业和行业积极投入到标准制定工作中来,共制修订国家标准5项(见表2),规定了包括车载可充电储能系统、操作安全和故障防护、电力驱动系统和传导连接辅助系统在内的相关系统和装置的安全和要求,直流电压等级,以及电动汽车碰撞后安全要求。在基础通用安全要求方面,GB/T 18384《电动汽车安全要求》三项国家标准修订稿修改了标准的适用范围,删除了CB/T 19596中已经界定的术语和定义,增加了部分术语的定义、车辆标识、紧急响应、防水等安全性要求。同时作为补充,GB/T 20234《电动汽车传导充电用连接装置》三项国家标准已经完成报批。多数企业已自觉依据标准开始相关产品研发和生产,有效的促进了电动汽车基础通用标准的实施,积极地推动了电动汽车行业的发展。

(3)驱动电机系统标准化工作
在驱动电机方面,GB/T 18488《电动汽车用电机及其控制器》两项国家标准已经修订发布(见表3),对以前对应版本标准进行大量修订工作,包括技术条件和试验方法的部分规定给予重点修改与增删,使相应规定更加明确清晰。

(4)电动汽车整车的标准
经过前面多年的积累,电动汽车整车标准已经完善,目前在这一块的工作主要集中在标准的适应性研究方面。在混合动力电动汽车相关标准(见表4)中,CB/T 19754-2015《重型混合动力电动汽车能量消耗试验方法》做了重大修改:电量消耗和燃料消耗的转换方法、NEC的计算方法、NEC的计算方法、试验程序和结果评价方面都有重要变化,增加了对不可外接充电式混合动力电动汽车能量消耗量的测量和评价方法。
值得一提的是, 插电式混合动力乘用车技术条件标准今年终于得以发布,解决了行业的急需。

2、新标准研究状况
(1)2015-2016标准状况
① 新发布标准清单
我们把归口单位为全国汽车标准化技术委员会的新发布标准列表如下,见表5。

② 部分项目进展情况
在研标准中,涉及基础通用、管理政策急需、引导行业的标准项目,在组织标准讨论和协调行业意见方面给予更多的关注。如低速提示音项目开展了实车试验,进一步验证了标准技术内容;电动汽车术语的整车、动力电池和驱动电机部分,在相关工作组分别讨论,形成草案;远程监控召开标准讨论启动会,讨论标准方案。部分标准制修订进展见表6。

(2)2016新发布标准介绍
归口单位为全国汽车标准化技术委员会,2016年新发布标准如下。
标准号:GB/T 32694-2016
标准名称:插电式混合动力电动乘用车技术条件
标准英文名称:Plug-in hybrid electric passenger cars - Specifications
规范范围:
A.关于范围
现阶段,标准规定了使用动力电池驱动的、坐位数在9座及以下的插电式混合动力电动乘用车,这是因为目前在国内市场上,插电式已经单纯从5座及以下扩展到9座车辆。同时,本标准范围涵盖增程式电动汽车。
本标准中增程器仅限于燃油发动机类型的。
B.关于电池箱总质量
为了保证车辆的使用性能和可承载质量,防止因为动力电池过重产生的性能降低,应对动力电池所占整车的质量比例有一个限制。标准规定了插电式混合动力电动乘用车的电池箱总质量与整车整备质量的比值,但是,考虑到将来车辆的轻量化的方向,删除该条款。
C.关于行李箱容积
从调研情况来看,我国的电动汽车动力电池的布置都会占用行李箱的空间,对于乘用车来讲,应具有适宜的行李箱容积,以保证其正常的使用功能。但由于本标准的范围扩大到整个不再M1类车辆,比如MPV、轿车的行李箱容积以及实际使用情况等差异很大,行李箱容积的推荐性规定也无法有一个基本的定义。与会代表认为,这是商品属性,应由市场选择。
D.关于续驶里程
2012年7月,根据车辆设置选择开关的不同,分别按照GB/T 18386或GB/T 19753测量纯电动模式下工况法续驶里程,其值应小于30 km。根据我国的产品研发现状、插电式混合动力电动乘用车本身的结构特点、社会的需求等因素,在广泛征求行业意见的基础上,当时我们确定该值为30 km。
经过两年的发展,中国的电动汽车技术取得长足进步,人们的出行半径也在不断扩大。此外发展PHEV的初衷从减少城市污染,在市区尽量不烧燃油,所以从需求的角度来讲,50km较为合适。PHEV续驶里程最低指标定为50km的主要理由
一、城市用户日常出行需要。我国大型城市,私家车用户日行驶距离(往返)接近50公里,考虑到我国在居住地和工作地同时安装充电桩较为困难,50公里的续驶里程既能保证用户平时出行需要,又能保证实际减排效果。
北京市第三次交通调查数据显示(2005年发布),北京小汽车日平均行驶里程是44.1公里。上海市第四次全市性综合交通调查(2011年发布)发现,小汽车日均行驶里程为39km。
电动汽车百人会上,专家也研究提出:纯电动续驶里程应大于等于50公里。
二、电池和整车技术快速发展。近几年,电池技术进步很快,价格下降明显。同样重量和体积的电池组可以存储更高的能量,行驶更长的距离。同时,随着整车控制策略优化,节能技术的发展,整车百公里油耗在降低,这进一步提高了整车续驶里程水平。因此标准的指标应不断提高。
三、城市节能减排需要。提高续驶里程要求,可以用纯电动行驶覆盖更多人的出行;而如果降低续驶里程要求,电池组容量和功率都会较小,加速和高速运行时,即时电池剩余电量较高,发动机仍会频繁启动,影响实际节能减排效果。
四、和现有国家政策相统一。《节能与新能源汽车产业发展规划(2012-2020年)》提出到2015年,插电式混合动力乘用车纯电动驱动模式下综合工况续驶里程不低于50公里;我国新能源汽车购买补贴、车辆购置税免征等政策,对插电式乘用车的续驶里程最低要求也是50公里。
五、市场已经做好准备。在产业发展规划和补贴政策等的引导下,市场已经做了充足的准备。截至目前,我国公告内插电式乘用车产品已有34款(27款国产,7家进口),其中续驶里程大于等于50km的车型有23款(21款国产,2家进口)。如果不计4款暂无续驶里程数据的车型,则≥50km的车型占全部车型的比例约80%。
六、消费者认可和接受程度。2014年全国插电式混合动力乘用车生产1.67万辆(同比增长近22倍),其中续驶里程大于等于50km的有1.62万辆,占比97.4%。说明市场和消费者更愿意选择具有较长续驶里程的车型。
工况的选择理由如下:按照GB/T18386的要求,可以只选择城市工况部分,PHEV纯电动驱动基本上在市区行驶,只是需要在试验报告中说明。我们统计,在中国的城市当中,市区的行驶速度基本上在50以下,一些城市快速路限速在80左右,但是由于里程长,不止纯电模式起作用。这样又违背了PHEV的鼓励方向。
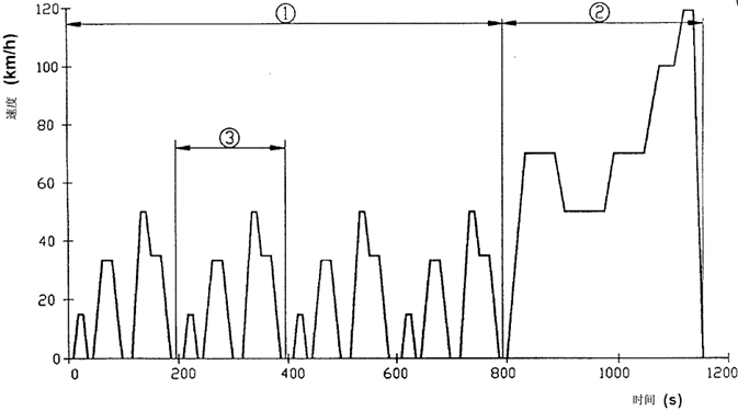
还有一个值得关注的原因,那就是在ECE R101的附件9当中,使用了GB/T18386中的工况循环,该试验循环与GB 18352.1中规定的试验循环一致。试验循环由4个市区循环和1个市郊循环程序组成,理论试验距离为11.022km,时间为19min40s。另外,允许只采用市区循环进行试验。所采用的试验循环应在试验报告中说明。图1给出了试验循环的组成。

图中:①—市区循环;②—市郊循环;③—基本的市区循环
图1 试验循环的组成
按照这个工况,在市郊循环阶段,大多数车辆的能量管理策略,发动机会启动。因此在ECER101中,考虑到了发动机在车辆爬坡、高速驶对于额外功率的需求而启动的情况,采用了下图2的分析方法,即剔除掉发动机起动时带来的车辆和动力电池的变化情况, 理论上讲是合理的,但是在实际试验当中,需要有专门的测试\分析软件。

图2 ECER101的分析方法
如果按照这种方法来做试验,国内的检测机构目前尚无手段,为此,在集中行业意见的基础上我们标准中提出“发动机一旦启动,试验结束。”
考虑到GB/T18386中的规定,“允许只采用市区循环进行试验。所采用的试验循环应在试验报告中说明。”市区循环(见图A.1)由4个基本的市区循环组成。
E.关于车辆上安装的动力蓄电池低温容量的要求
这两年,电池技术得到一定的发展,同时相应的标准也在不断的完善和更新,因此,本标准也根据QC/T 742、QC/T 743 、QC/T 744的要求、以及目前国家在电动汽车的管理方面的一些文件,动力电池在环境温度-20℃时,动力蓄电池模块容量与常温下的容量比应不小于70%。但是,插电式混合动力汽车在该方面有别于纯电动汽车,因为可以利用发动机的存在提前给电池余热或者其他措施,使得电池无需在-20℃的环境中启动。所以该条要求转换成对于整车的要求。即汽车应能在-20℃环境中正常启动并且行驶。所以有关低温启动、低温容量的条款均不再规定。